网站首页  百科知识

请输入您要查询的百科知识:

 

词条 制钵机
类别 中文百科知识
释义

制钵机nutrition-pot making machine

制造育苗用营养钵的机械。随着营养钵育苗技术和栽植机的推广应用,从20世纪50年代开始研究和生产制钵机,至80年代已形成系列。大型自走式制钵机可一次完成配料、搅拌、制钵、播种和铺放等作业。而且钵体尺寸规格化,质量好,适于机械栽植。
制钵机根据制钵的形状,有方形、圆柱形、方锥形和圆锥形等多种型式。欧洲国家普遍应用荷兰生产的方形制钵机。在这种制钵机上一般配带精量播种装置。在料斗内直接填入搅拌均匀的湿营养基质,在间歇胶带输送机构和其他机构配合下完成喂人、摊平、压实、切块、压穴和播种等工序,制成的钵块由人工铲走。可制作3~10厘米的方形钵。生产率为4 000~10 000个/小时。
中国制造和应用的制钵机可制成圆柱形营养钵,生产率为3 600~7 200个/小时,成型率在95%以上。制钵机主要由机架、传动系统、安全离合器、制钵机构、输送装置等组成。制钵机构主要由料斗、曲柄连杆、钵体、冲头、间歇机构等组成。间歇机构用以保证制钵过程顺利进行。间歇机构可采用棘轮机构作间歇输送,在输送机构停歇时,切刀等几个组合机构分别工作将土条压实、切方及压穴、播种。当输送机构运行时进行供料和将制作好的钵体向外输送,也有采用“马尔它”机构实现间歇传动,可保证冲压过程的准确性。或采用扇形齿板与钵体齿圈的间歇啮合实现间歇传动,需附加锁定机构,以提高可靠性。如果在制钵时采用同步回转方式,利用板簧控制钵体自动回位,则整个工作过程不需要间歇机构。


制钵机nutrition-pot machine

将营养基质制成培育菜苗营养钵的机具。机制钵有方形、圆柱形、方锥形和圆锥形等。外形整齐、坚实度均匀、规格一致,便于机械栽植。
20世纪50年代制钵机随着机械栽植的需要逐步发展起来。欧洲一些国家多采用复式作业和联合作业的机械,有的形成机械铲运、输送上料、混合搅拌、成型、播种、覆土、铺放钵块等工序的成套机械设施。中国70年代前用农家肥和土按比例掺匀加水拌合后摊平切方制作营养钵。也有的采用简易的手工制钵器制钵。70年代初制成棉花、玉米制钵机,1975年后相继研制适用于蔬菜育苗的制钵机。
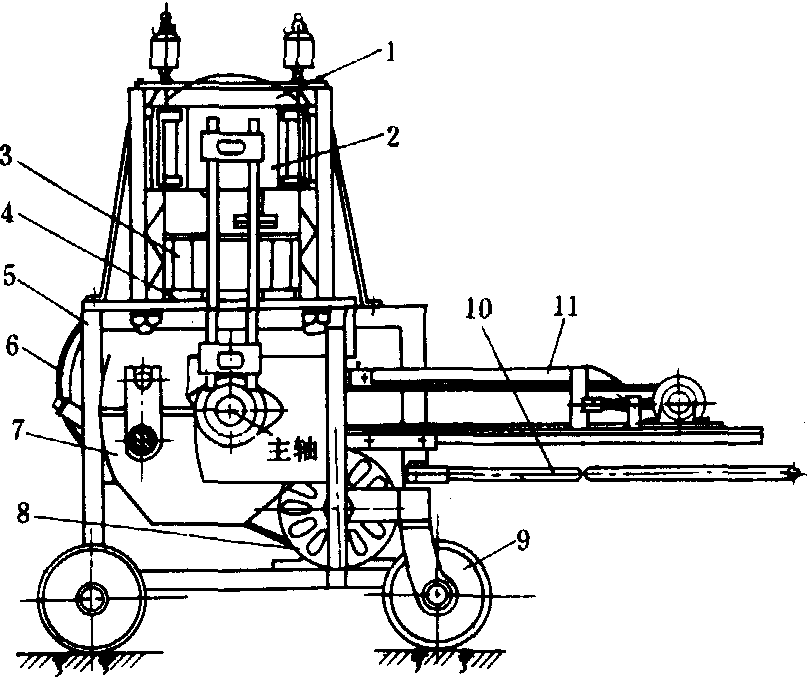
按作业方式可分为冲压成钵、切割成钵、填充容器成钵等类型。如荷兰DEWA型的湿作方形制钵机是切割成钵类型,每小时能生产4 000~100 000块,规格从3厘米至10厘米。中国的制钵机多属冲压成钵类型,每小时生产3 600块。2ZBT-1型制钵机(图1)是适于


图 1 2ZBT-1型制钵机图
1. 料斗; 2. 冲压导向机构; 3. 钵体总成;4. 间歇机构;
5. 机架; 6. 安全离合器: 7. 传动系统: 8. 电机;9. 地

轮; 10. 转向手柄; 11. 输送带总成


棉花、玉米、蔬菜育苗的通用制钵机,也可以压制甘蔗、树苗钵。2ZB-2型育苗制钵机装在手扶拖拉机上,配有双钵冲,每小时生产7200块。节省动力,机动方便。2SB-8蔬菜育苗制钵机配置在双轮车上,移动灵便。制钵机主要由机架、传动系统、制钵机构、输送装置、安全机构等组成。机架用于支撑和连接各个部件。钵冲往复次数一般每小时3 600次左右。多采用皮带和开式齿轮传动。制钵机构由加料斗、钵体、钵冲、间歇机构等组成。加料斗将营养基质向钵体孔填充。钵冲分长、短两种。短钵冲在钵体总成停歇阶段内与钵体相遇,在钵体孔内将营养基质压制成钵,然后离开钵体。与此同时长钵冲将上一次压制好的营养钵推出钵体孔至输送装置,然后退出钵孔。间歇机构是制钵机工作部件的必要机构,其可靠性和准确程度直接影响着制钵机能否正常工作。DEWA型制钵机用棘轮机构使输送带作间歇输送。在输送带停歇时将营养基质条压实、切方,同时冲穴、播种。2ZBT-1型制钵机采用马尔他机构(图2),使钵体作间歇回转。2SB-8


图 2 2ZBT-1型制钵机间歇机构图

蔬菜育苗制钵机采用扇形齿板与钵体齿圈的间歇啮合实现钵盘的间歇回转,并附加锁定机构。延边-6型制钵机冲压时采用钵冲板随钵体同步回转的方式,即钵冲压入钵体孔和退出钵体孔,这段时间内钵冲板随钵体总成一起回转; 在钵冲离开钵孔一段时间内钵冲随钵冲板在扭簧和定位滚轮的作用下回到原位(图3)。安全机构的作用是保证制钵机在正常工作时能很好的传递动力,在机构因故卡死时切断动力,使机具免受毁坏。中国制钵机的安全机构采用安全销、摩擦片常压式安全离合器和牙嵌式摩擦离合器三种方式。安全销是最简单的一种,但每次故障后需要更换新的安全销,传递动力的大小也不能随意按不同情况的需要调节。摩擦片常压式安全离合器结构复杂,但传递动力大小的调节,可通过调整压紧弹簧的压力实现,安全可靠。


图 3 延边-6型制钵机构图


随着育苗技术的不断发展,必然要求制钵的方式与之相适应。日本70年代开始采用纸袋育苗技术和苗盘育苗技术,到70年代后期已逐步取代压钵式的制钵机。美国、澳大利亚也采用育苗箱育苗系统进行工厂化育苗。美国、加拿大等国还采用工厂化生产干制草炭饼(把草炭加粘合剂压缩制成),便于储存运输。使用时加水涨大,而且在育苗过程中仍可继续增大,以满足发根生长要求。做为育苗营养基质的尿醛泡沫塑料已在中国进行生产,以满足无土育苗技术的需要。
随便看

 

开放百科全书收录579518条英语、德语、日语等多语种百科知识,基本涵盖了大多数领域的百科知识,是一部内容自由、开放的电子版国际百科全书。

 

Copyright © 2000-2025 oenc.net All Rights Reserved
更新时间:2026/5/18 17:23:40