网站首页  百科知识

请输入您要查询的百科知识:

 

词条 黑光灯
类别 中文百科知识
释义

黑光灯heiguangdeng

见“气体放电灯”。

黑光灯ultraviolet lamp

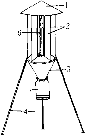
光波为36.5~40.0 nm、发紫黑色光的荧光灯。用于测报和诱杀害虫。由于很多昆虫的趋光性表现为嗜向紫外光波段,其诱杀效果比普通白炽灯效果更好。现已广泛应用于防治棉红铃虫、亚洲玉米螟、金龟子、蝼蛄等害虫。黑光灯的装置(见图)包括灯管(3W、8W、20W和40W)、灯架、防雨罩、挡虫板(由3~4块玻璃组成)和收集器(毒瓶或水盆)等。

黑光灯

1.防雨罩 2. 玻璃挡虫板 3. 漏虫斗 4.支柱 5. 毒瓶 6. 黑光灯管

随便看

 

开放百科全书收录579518条英语、德语、日语等多语种百科知识,基本涵盖了大多数领域的百科知识,是一部内容自由、开放的电子版国际百科全书。

 

Copyright © 2000-2025 oenc.net All Rights Reserved
更新时间:2026/5/19 11:24:48