网站首页  百科知识

请输入您要查询的百科知识:

 

词条 钢轨扣件
类别 中文百科知识
释义

钢轨扣件rail fastenings

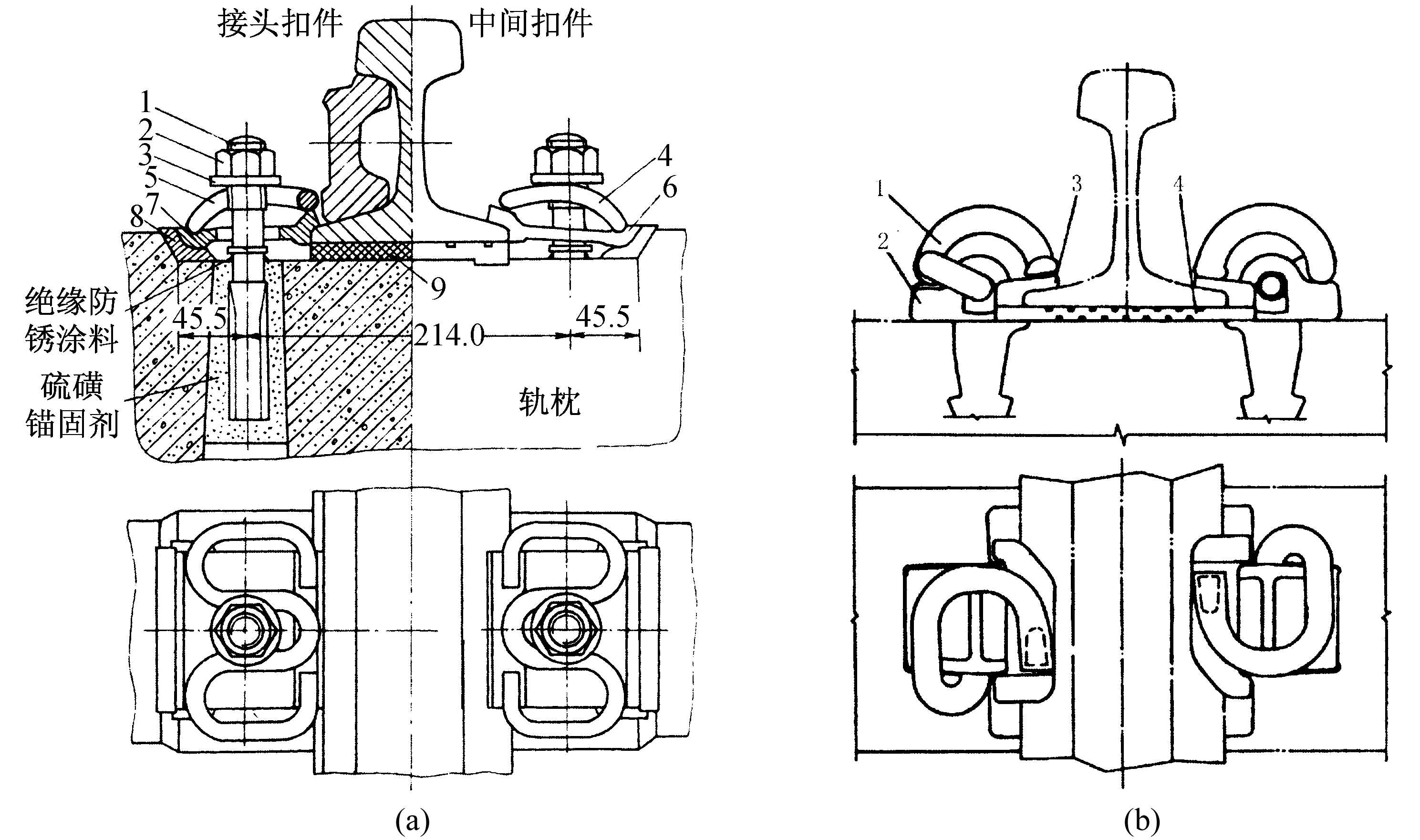
联结钢轨与轨枕的中间零件。要求联结可靠,结构简单,便于拆装,还要具有弹性、减振和绝缘等性能。不同类型的轨枕和有碴、无碴轨道使用的扣件不同。木枕扣件,包括普通道钉和铁垫板。混凝土轨枕扣件,有扣板式、拱形弹片式和弹条式等类型扣件。最常用的为弹条式扣件,有弹条Ⅰ型、Ⅱ型和Ⅲ型扣件(见下图)。弹条Ⅰ型与Ⅱ型零件通用,只是后者用更好的材料制成。它们包括螺纹道钉、螺母、平垫圈、弹条、轨距挡板、挡板座和橡胶垫板等零件。螺纹道钉用硫磺水泥浆锚固在轨枕的预留孔中,具有很高的抗拔力。用螺母拧紧螺纹道钉,用扭矩来衡量螺母拧紧的程度。弹条是用来弹性地扣压钢轨,具有足够的扣压力。轨距挡板用来调整轨距和传递钢轨承受的横向水平力。挡板座用来支撑轨距挡板并传递轨距挡板的横向水平力至轨枕的挡肩上。橡胶垫板是缓冲轮轨间的振动冲击作用和提供垂直弹性的主要零件。常用的有10mm厚的橡胶垫板,亦可用其他材料制成。弹条Ⅲ型扣件是无螺栓无挡肩扣件,它包括弹条、预埋铁座,绝缘轨距块和橡胶垫板等零件。弹条一端弹性地扣压钢轨,另一端插入预埋铁座中,绝缘轨距块用来调整轨距和隔离电流的回路,橡胶垫板的作用与上述一样。因消除了螺栓联结方式,大大地减少了扣件的养护工作量。无碴轨道上的扣件与上述相似,不同之处是因无道碴可以找平,需增加扣件的调高量。

(a) 弹条Ⅰ型扣件
1-螺纹道钉;2-螺母;3-平垫圈;4、5-弹条;6、7-轨距挡板;8-挡板座;9-弹性橡胶垫板
(b) 弹条Ⅲ型扣件
1-弹条;2-预埋铁座;3-绝缘轨距块;4-橡胶垫板

随便看

 

开放百科全书收录579518条英语、德语、日语等多语种百科知识,基本涵盖了大多数领域的百科知识,是一部内容自由、开放的电子版国际百科全书。

 

Copyright © 2000-2025 oenc.net All Rights Reserved
更新时间:2026/1/12 23:12:50