网站首页  百科知识

请输入您要查询的百科知识:

 

词条 船闸
类别 中文百科知识
释义

船闸

为船舶克服水道落差而设置的一种结构简单、使用方便的通航建筑物。一般由闸室、上下闸首及上下游引航道组成。类型很多,主要有单级船闸和多级船闸。

船闸navigation lock

“通航建筑物”的一种。在天然河流由于调节流量、渠化通航以及在运河上因地形条件及水面坡度的限制,必须具有阶梯形的纵断面形成集中水面落差。所以必须借助专门的通航建筑物使船舶直接通过落差。现代通航建筑物应用最多的是船闸。它是一厢形构筑物,由上、下游引航道与上、下游闸首连闸室组成。闸室是停泊船舶(或船队)的厢形室,借助室内灌水或泄水来调整闸室中的水位,使船舶在上、下游水位之间作垂直的升降,从而通过集中的航道水位落差。当船舶由下游向上游行驶时,室内水位降至与下游水位齐平,然后打开下游闸首的闸门,船进闸室,关闸门,灌水,待水位升高到与上游水位齐平后,开上游闸首闸门,船即可出闸通过上游引航道驶向上游。当船由上游向下游行驶时,过闸操作程序则与此相反。

船闸lock

在河渠上有集中水位落差的地点,利用闸门及水力系统控制和调节闸室水位以便浮运船只的通航建筑物。由停靠船只的闸室及其两端装有控制水位的闸门及输水系统的上、下游闸首以及上、下游引航道组成。过闸方式是当船只下行时,先由上闸首输水系统向闸室充水,待室内水位与上游齐平时关闭输水系统并开启上闸首闸门,船只由引航道驶入闸室停靠,然后关闭上闸首闸门,开启下闸首输水系统,将闸室放水至与下游水位齐平时开启下闸首闸门,船只出闸,沿下游引航道驶入下游河道。船只上行时程序相反。根据交通频繁程度,可修建单线或双线船闸。在平原地区的小河道上,为挡外河水、排洪、灌溉、通航的要求而修建的简易小型船闸,又称套闸。闸室可用混凝土、钢筋混凝土、砌石修造,引航道可用土石料、混凝土等修造。

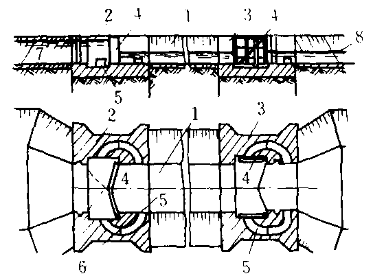
船闸

1.闸室 2.上游闸首 3.下游闸首 4.上、下游闸门 5.输水道 6.输水道闸门 7. 上游 8. 下游

随便看

 

开放百科全书收录579518条英语、德语、日语等多语种百科知识,基本涵盖了大多数领域的百科知识,是一部内容自由、开放的电子版国际百科全书。

 

Copyright © 2000-2025 oenc.net All Rights Reserved
更新时间:2025/11/9 22:05:21