网站首页  百科知识

请输入您要查询的百科知识:

 

词条 粉尘采样器
类别 中文百科知识
释义

粉尘采样器dustsampler

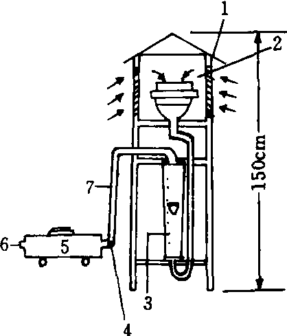
用于测定大气飘尘的取样装置。主要由抽气机或吸尘器、气体流量计和采样夹组成。工作时,将一张直径110 mm的玻璃纤维滤纸,经干燥器干燥6 h后,称重,将其固定于百叶箱中的采样夹上,抽气机工作后,气样经采样夹、流量计进入抽气机排出。根据时间和流量可计算出气体采样体积,再依滤纸上重量的增加可测得飘尘量。该装置结构简单,可以自制,亦有定型产品。

粉尘采样器示意图

1.百叶箱 2.采样夹 3.流量计 4. 流量调节孔 5.抽气机 6.排气口 7. 导气管

随便看

 

开放百科全书收录579518条英语、德语、日语等多语种百科知识,基本涵盖了大多数领域的百科知识,是一部内容自由、开放的电子版国际百科全书。

 

Copyright © 2000-2025 oenc.net All Rights Reserved
更新时间:2025/11/10 13:43:42