网站首页  百科知识

请输入您要查询的百科知识:

 

词条 简易冰刀的制作
类别 中文百科知识
释义

简易冰刀的制作

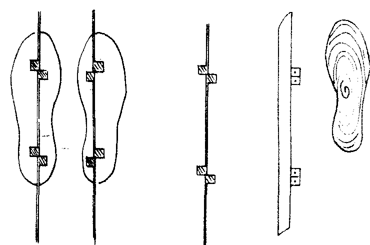
简易冰刀的形式很多。其中较为方便制作的有:❶将1~1.5厘米厚的木板按鞋的大小制成鞋底形;用1.5~2毫米厚的铁板制成冰刀,焊上铁片,再用螺丝拧到木板上。
❷将直径10厘米的圆木截成鞋底长,从中间锯开,在半圆的中部锯一条缝,将1.5~2毫米厚的铁板制成的冰刀镶入缝中固定好;在平面的边沿穿孔,用带子绑在鞋上即可。
❸用1.5~2毫米厚的铁板仿制成冰刀,直接固定在硬底的高腰皮鞋上。



冰刀制作一


冰刀制作二

简易冰刀的制作Jianyi bingdao de zhizuo

指无法解决正式冰刀时自己制做简易冰刀。找一块直径10厘米左右、质地坚硬、长度与鞋底相同的圆木,从中间锯成两个半圆形,将半圆的中央顺锯一道缝,缝的深度和宽度, 以冰刀片镶入合适为标准。再将厚1. 5毫米、宽约4—5厘米,稍长于木板的铁或钢片镶入半圆木缝内作为刀刃,要求越结实越好,并将铁或钢片磨出内外刃来,再自半圆木的两侧穿上较宽的带子,滑时绑在鞋上即可。

随便看

 

开放百科全书收录579518条英语、德语、日语等多语种百科知识,基本涵盖了大多数领域的百科知识,是一部内容自由、开放的电子版国际百科全书。

 

Copyright © 2000-2025 oenc.net All Rights Reserved
更新时间:2026/5/18 17:49:30