网站首页  百科知识

请输入您要查询的百科知识:

 

词条 示教电表
类别 中文百科知识
释义

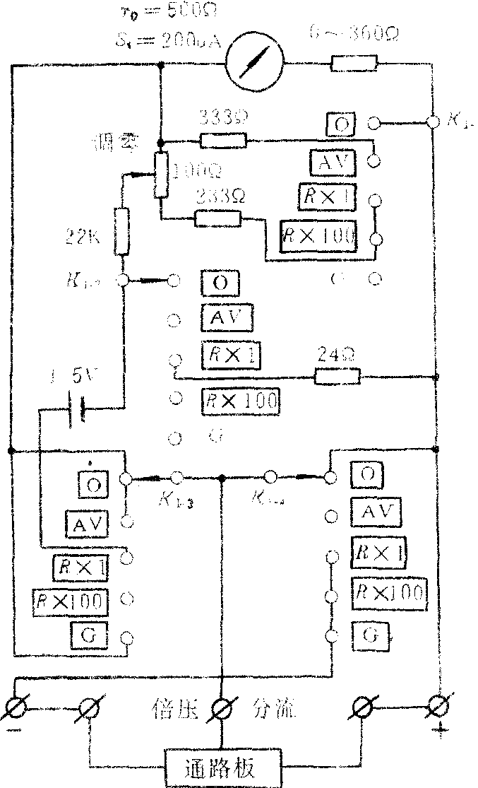
示教电表shijiao dianbiao

演示测量交直流电压、电流及直流电阻并可作检流计用的仪表。属于磁电系仪表。线圈分为工作绕组与阻尼绕组两部分,工作绕组接测量电路,阻尼绕组在指针摆动时提供磁阻尼。J0401型示教电表的电路原理如图所示。


电表备有10块通路板,供选用。使用时根据待测电量的性质、测量范围,按下表选配通路板与表盘。作检流计用时,不加通路板。

零件名称材料及数据(单位:mm)阻值
1A分流器
5A分流器
10V倍压电阻
25V倍压电阻
1A分流器
25V倍压电阻
250V附加电阻
零欧姆调整器
限流电阻
并联电阻
φ0.9裸锰铜线
φ1.3裸锰铜线
金属膜电阻
金属膜电阻
φ0.64漆包锰铜线
金属膜电阻
金属膜电阻
线绕电位器
金属膜电阻
φ0.06~0.07漆包锰铜线
0.1Ω
0.02Ω
20kΩ、1/8W
50kΩ、1/8W
0.65Ω
22kΩ、1/8W
223kΩ、1/2W
680Ω
2.2kΩ、1/8W
340Ω(355Ω)
R×100电阻档
电阻
精密金属膜电阻233Ω
R×1电阻档电阻精密金属膜电阻24Ω

随便看

 

开放百科全书收录579518条英语、德语、日语等多语种百科知识,基本涵盖了大多数领域的百科知识,是一部内容自由、开放的电子版国际百科全书。

 

Copyright © 2000-2025 oenc.net All Rights Reserved
更新时间:2026/1/12 10:45:50