网站首页  百科知识

请输入您要查询的百科知识:

 

词条 石油裂解
类别 中文百科知识
释义

石油裂解shiyou liejie

是将石油原料在800~1 100℃之间进行处理,得到小分子烃的生产过程其反应十分复杂,主要有以下几种类型。
烷烃裂解 烷烃裂解反应可概括为脱氢和断链两种。脱氢生成相应的烯烃,其通式为


CnH2n+2CnH2n+H2-Q
R-CH2-CH3R-CH=CH2+H2-Q


断链分解为较小的烷烃和烯烃,其通式为

Cm+nH2m+2n+2=CmH2m+CnH2n+2-Q



R-CH2-CH2-R′ →R-CH=CH2+R′H-Q


烯烃裂解 较大的烯烃分子裂解为两个小烯烃分子,其通式为

Cm+nH2m+2n→CmH2m+CnH2n-Q

原油中很少有烯烃存在,发生裂解的烯烃 一般都是由烷烃裂解生成的,所以烯烃裂解是 二次反应。
环烷烃裂解 环烷烃裂解可以有多种方式,如环己烷可裂解为



除上述主要的有益反应外,还会发生有害反应,主要是生炭反应


依据热力学和动力学原理,生产中在800~1 100℃范围内,尽可能控制较高温度,同时尽可能减少物料在反应器内的停留时间,使之有利于生成乙烯而不利于生成焦炭。
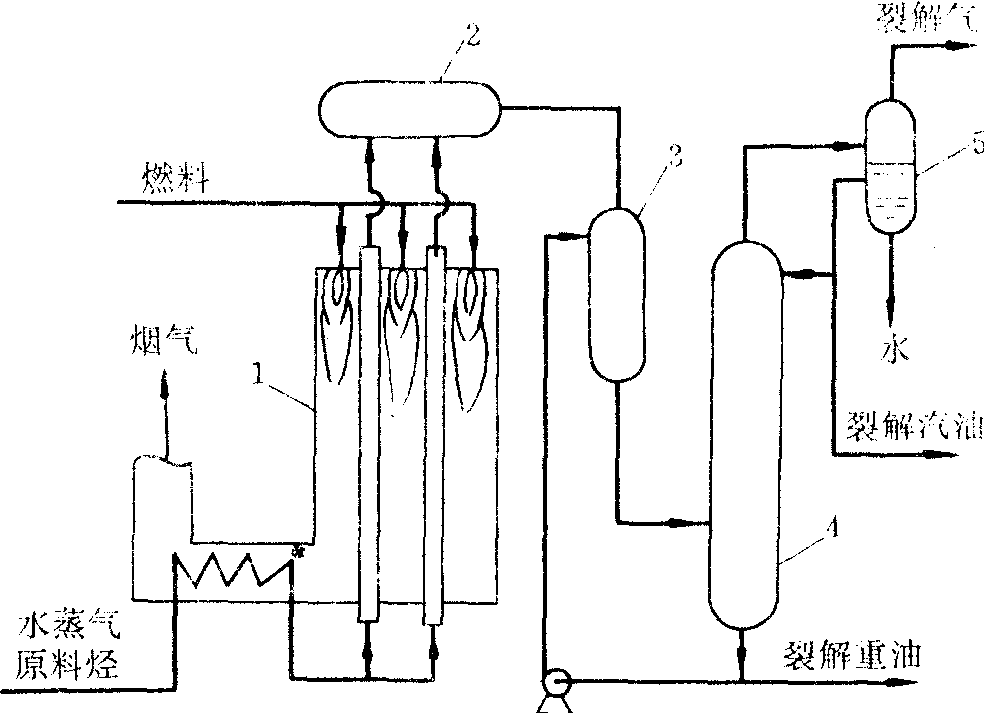
为了在极短时间内供给大量反应热,反应宜在管式炉内进行。此外,裂解反应使体积增大,减压操作对正反应有利,但实际生产中,为防止空气漏入系统引起爆炸,操作压力略高于大气压,同时加入水蒸气作为稀释剂以降低反应物料的分压。如图所示,燃料油(或燃料气)由导管喷入炉内燃烧把反应管加热至900℃左右,原料烃和水蒸气预热后从反应管内快速通过(950℃时,停留时间仅为0.01~0.02s)发生裂解反应。反应后的物料导入急冷换热器将温度迅速降至550℃以下使反应停止,再 导入油急冷器与来自精馏塔底的重油混合进一步降温后导入精馏塔进行蒸馏分离。塔顶馏出物经油水分离器进行气液分离和油水分离。主产物裂解气由分离器上部导出送去净化和分离,中部导出的裂解汽油一部分回流,一部分送去提取芳烃,塔底导出的裂解重油 一部分导入油急冷器用做急冷油,一部分用做裂解炉燃料或返回反应管做裂解原料。裂解主产物裂解气是多组分混合物,要得到单一的高纯度产品,必须进行进 一步分离和净化。


裂解生产流程
1 裂解炉 2 急冷换热器 3 油急冷器4 精馏塔 5 油水分离器


裂解气的分离有多种方法,目前多采用深冷法,即在-100℃左右加压至约3MPa,将裂解气中氢和甲烷以外的其他组分全部冷凝成液体,再利用各种烃沸点的不同,用精馏的方法逐 一分离,所得产品主要为氢、甲烷、乙烯、丙烯和丁烯。
随便看

 

开放百科全书收录579518条英语、德语、日语等多语种百科知识,基本涵盖了大多数领域的百科知识,是一部内容自由、开放的电子版国际百科全书。

 

Copyright © 2000-2025 oenc.net All Rights Reserved
更新时间:2026/5/18 17:03:12