网站首页  百科知识

请输入您要查询的百科知识:

 

词条 皮托管
类别 中文百科知识
释义

皮托管pituo guan

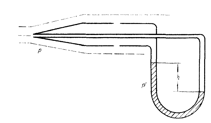
一种测量流体流速的仪器。其工作原理可由伯努利方程来解释。用皮托管测量流体的流速时,必须与流体接触,这使流体原来的流动状态受到干扰,给测量的精确度带来了不利影响,是皮托管的不足。18世纪,曾有过河渠内水流的速度随深度增加而增加的理论。法国水力工程师H.皮托对这一问题进行了研究,他设计了一种开口对着水流的管子测量流速,结果发现流速随深度增加的理论是错误的。由于用皮托管测流速既简单又迅速,因此很受欢迎,很快得到广泛采用。对于河水或渠水,可用最简单的皮托管测流速,见图1。A点的流速为vA=,式中h为皮托管中的水面与外部水面的高度差,ρ为水的密度,g为重力加速度。实际应用时,上式应改用vA=C,式中c为皮托管的修正系数,可由实验来确定。对于管道中流体的流速,可以用图2所示的皮托管。其中,上图是测量液体的皮托管,公式同上:下图是测量气体的皮托度和U型管中液体密度。对大气中飞行物体(如飞机)来说,测量自身运动速度(空气相对于飞行物体的流


图1


图2


图3

随便看

 

开放百科全书收录579518条英语、德语、日语等多语种百科知识,基本涵盖了大多数领域的百科知识,是一部内容自由、开放的电子版国际百科全书。

 

Copyright © 2000-2025 oenc.net All Rights Reserved
更新时间:2026/5/18 20:33:23