网站首页  百科知识

请输入您要查询的百科知识:

 

词条 甜菜分段收获机械
类别 中文百科知识
释义

甜菜分段收获机械beet stage-harvesting machinery

在田间以分段作业方式完成甜菜收获全过程的机械。按在田间作业次数一般分为二段、三段和四段。分段收获工艺见甜菜收获机械化。进行各段作业的机械有切除茎叶、根冠,并将茎叶切碎抛撒于田间或集条的叶顶切除机;切除茎叶、根冠,打掉残留叶柄后将茎叶集箱或装载的茎叶收获机;将集条茎叶收集、装载的茎叶收集机;挖掘块根、捡拾清理后集条或集箱的块根收获机;将集条的块根捡拾、清理并装载的块根捡拾机。它们的主要工作部件包括:仿形切顶机构,块根挖掘机构和块根捡拾—清理—输送机构。
仿形切顶机构 其工作原理是仿形轮或滑掌在甜菜根冠上运动时,联动切削刀同步运动,切下所要求厚度的根冠。仿形轮缘或滑掌底端与切削刀刃之间的垂直距离为垂直间隙,水平距离为水平间隙。调整垂直间隙可以改变切下根冠厚度,水平间隙应大约相当于根冠切面半径。按结构形式主要分为轮式和滑掌式。滑掌式又分为动刀式和定刀式。轮式和滑掌动刀式主要用于甜菜茎叶收获机;滑掌定刀式用于甜菜叶顶切除机。根据不同收获要求和地区特点,配置在各种甜菜收获机上的仿形切顶机构,在结构上均采用多杆(至少4杆)仿形切顶机构。它能随着甜菜块根顶部的高低自动改变切削刀刃的垂直间隙,从而具有按照甜菜块根大小,改变其切顶厚度的功能。
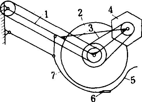
轮式仿形切顶机构 结构如图1。仿形轮由行走轮或动力输出轴驱动。轮缘线速度和前进速度的比值为1.1~1.8。仿形轮直径大,不易切入和推倒甜菜。但由低顶甜菜向高顶甜菜作业时,仿形轮直径过大则会干扰仿形。仿形轮直径不应小于30厘米,随着精量点播、移栽机的应用和甜菜品种的改良(改良后的甜菜块根生长整齐),仿形轮直径已增大到60~65厘米。切削刀与水平面平行,以保持块根切削面水平。切削刀刃与前进方向成一定角度,有利于杂草和枯叶柄从刀刃上滑脱出去,同时有滑切作用。刀背上装有栅条,在仿形轮作用下,引导茎叶根冠向后抛送到输送装置上。此机构应用广泛,对生长在土质松软和根冠露出地面的甜菜适应性强,不易推倒甜菜,且切削质量较好,便于收集切下的茎叶、根冠。但是在潮湿、泥泞和杂草繁茂的地里作业时,易堵刀。

图1 轮式仿形切顶机构

1.摆动臂; 2.仿形轮; 3.传动链条和链轮; 4.拨叶装置; 5.叶顶导向栅条; 6.切削刀; 7.刀杆


滑掌主动刀式仿形切顶机构 由滑掌、摆动臂及主动刀组成。主动刀有圆盘刀(图2)和摆动刀两种。

图2 滑掌圆盘刀武仿形切顶机构

其中圆盘刀应用广泛。滑掌有封闭形和栅条形两种。滑掌与水平面呈15°~20°角。圆盘刀与水平面呈12°~25°角,有助于向上抛送切下的茎叶、根冠到输送机构上和防止干扰仿形。该机构工作可靠,对潮湿、杂草繁茂的作业条件适应性强。但在土质松软和根冠露出地面较高的地里作业时,易推倒甜菜,且对苗眼偏距大的甜菜切削时,厚度增加和造成斜切。
滑掌固定刀式仿形切顶机构 主要由滑掌、摆动臂和固定刀组成(图3)。其结构形式与主动刀式不同之处在于滑掌后端端线与斜刀刃平行,大约与前进方向成45°角。刀刃上各点的水平间隙和垂直间隙相等。因此在苗眼偏距较大时,甜菜的切顶厚度也不变,宜于多行作业。作业前,须先由旋转刀切下茎叶并由橡胶连枷打掉残留叶柄。该机构适应范围广,在潮湿和其他各种不同条件下仍能正常作业。由于机构简单、重量轻,在提高作业速度上有较大潜力。但是不适于要求回收茎叶、根冠的甜菜收获作业。

图3 滑掌固定刀式仿形切顶机构


块根挖掘机构 通过对土壤的挤压和提升作用掘起块根的工作部件。要求在挖掘过程中,块根的损伤率、漏挖率达到收获标准,并且块根有一定的提升高度和较少的带土率。常见的挖掘机构有铲式(或叉式)、挖掘轮式和组合式三种类型(图4)。
铲式(或叉式)挖掘机构 由两片对称铲铧或两根锥形叉组成,有封闭式和开式。封闭式结构强度高,但土壤阻力大,易阻塞。开式则正好相反。该机构结构简单,但在粘重土壤条件下,易壅土,带土率高。块根提升高度较低。叉式对土壤变形小,但须直接作用在块根上才能掘出,故块根损伤、折断多。适用于轻质土壤。
轮式挖掘机构 由两片对称设置的中凹轮盘组成。轮盘张开一定角度,改变张角可以适应苗眼偏距的变化。轮盘外缘有光刃、缺口刃和凿形三种,其中凿形圆盘入土能力强,适应在坚硬的土壤上作业,但轮缘外齿易折损。多数大型轮盘为非封闭形,有助于碎土从两侧漏下,最大辐条间距以小块根不漏出为原则。该机构还可以分为驱动轮式和被动轮式。驱动轮式传动结构复杂,但块根提升能力强、入土性能好、不易壅土和堵塞。轮式挖掘机构与其他型式比较,块根提升能力强、带土量少,缺点是结构复杂,入土深度不稳定,易切伤块根。
组合式挖掘机构 由一个挖掘圆盘和一个挖掘铲或一个滑脚组成,滑脚形似角铁,有限深和导向作用,挖掘圆盘为封闭式,曲率半径大约为700毫米,截面直径为500毫米左右,相对挖掘铲或滑脚错前或错后,不易壅土和堵塞,调节它们之间的相互位置和圆盘偏角,可适应不同土壤、耕作方法及甜菜田间生长情况。该机构作业质量好,结构简单,逐渐为多行甜菜收获机所配置。

图4 挖掘机构


块根捡拾—清理—输送机构 将挖掘后的块根捡拾,在输送过程中将其附着和携带的泥土清除还田。主要有杆状链机构、栅状圆盘机构和多排轮齿机构。
杆状链机构 分单式和复式。单式链用于输送和清理,对块根作用柔和。复式链由上、下两排杆状链组成,除有捡拾、清理和输送作用外,由于上、下链速不一致,在输送过程中搓揉、抖动块根,有利于清除块根附土和揉碎大土块,被揉碎的土块从杆条间隔中漏回地面。它适宜作为分段作业中的块根捡拾机构和配置在挖掘块根高度较低的挖掘铲或挖掘叉后面。
栅状圆盘机构 由一个或几个辐射线或螺线状栅条圆盘组成(图5)。第一级捡拾—清理圆盘,与地面倾斜成10°~25°角。圆盘周围有挡条。块根掘起后,由转动圆盘捡拾,靠离心力作用,运动到盘缘,受到周围挡条的搓揉、碰撞,土壤从圆盘栅条和周围挡条间隔中散落到地面。一个圆盘可同时捡拾1~3行,简单、可靠、对块根作用适中,应用范围广,特别适于多行作业。改变圆盘转速可以调整对块根的作用强度。同时,在挡条作用下,可使块根在田间集条。
多排轮齿机构 由多个在同一平面内平行且等距的同方向转动轴和固定在转动轴上的一排轮齿组成。

图5 栅状圆盘机构

齿周用橡胶包裹,以减少块根损伤。第一排轮齿一般为双齿,捡拾能力很强。块根被捡拾后,在转轮的螺线齿的打击下,在转动轴上跳跃;块根附土在惯性力作用下脱离块根;土块被击碎,通过齿隙落在地面上。该机构清土能力最强,但容易损伤块根,适于配置在粘重土壤中作业的收获机,清土能力可由转动速度来调节。
随便看

 

开放百科全书收录579518条英语、德语、日语等多语种百科知识,基本涵盖了大多数领域的百科知识,是一部内容自由、开放的电子版国际百科全书。

 

Copyright © 2000-2025 oenc.net All Rights Reserved
更新时间:2025/11/10 5:18:46