浮顶油罐floating roof tank
罐顶覆盖在油面上、随油面升降的一种“立式圆柱形油罐”。浮顶有单盘和双盘式两种。双盘式有利于隔热,单盘式节省钢材,一般用于大容量储罐。浮顶顶板坡向中央,可排除雨水。浮顶外缘与罐壁间有200~300mm缝隙,并设有密封装置以减少油品蒸发损耗。按罐顶是否封顶,又分为外浮顶和内浮顶两种。外浮顶油罐的浮顶直接与大气接触,其特有的附件有:
❶中央排水管,用于排除浮顶上的雨水,由活动接头相连的若干直管段组成,又称排水折管。
❷转动扶梯,供操作人员下到浮顶用。
❸浮顶立柱,为安于浮顶下方的若干支柱,液面较低时立柱可避免浮顶与罐底部加热盘管等附件相碰,检修时可支撑浮顶,人员由人孔进入罐底。
❹自动通风阀,浮顶立柱落于罐底时,该阀开启,使罐内空间与大气连通,以免发油时形成真空,进油时罐内形成气体层。外浮顶油罐可减少油品蒸发损耗,并特别适宜建成大容量储罐,降低单位储油量的钢材消耗,减少罐区占地、管网和油罐附件,节省建设费用。目前,世界上最大的外浮顶油罐容量为160000m3,中国最大的外浮顶油罐容量为100000m3。由于外浮顶油罐所储油品易被雨水、灰尘污染,故常用于储存原油。在顶部圈板上安有拱形顶盖的油罐称内浮顶油罐。拱顶中央和罐壁上方圆周方向均匀设有若干通气孔,使拱顶、罐壁和浮盘所围的气体不断被新鲜空气替换,避免油气浓度达到爆炸低限。内浮顶油罐兼有拱顶油罐不污染油品和外浮顶油罐能降低油品蒸发损耗的优点,广泛用于储存汽油。
.jpg)
浮顶结构示意图
.jpg)
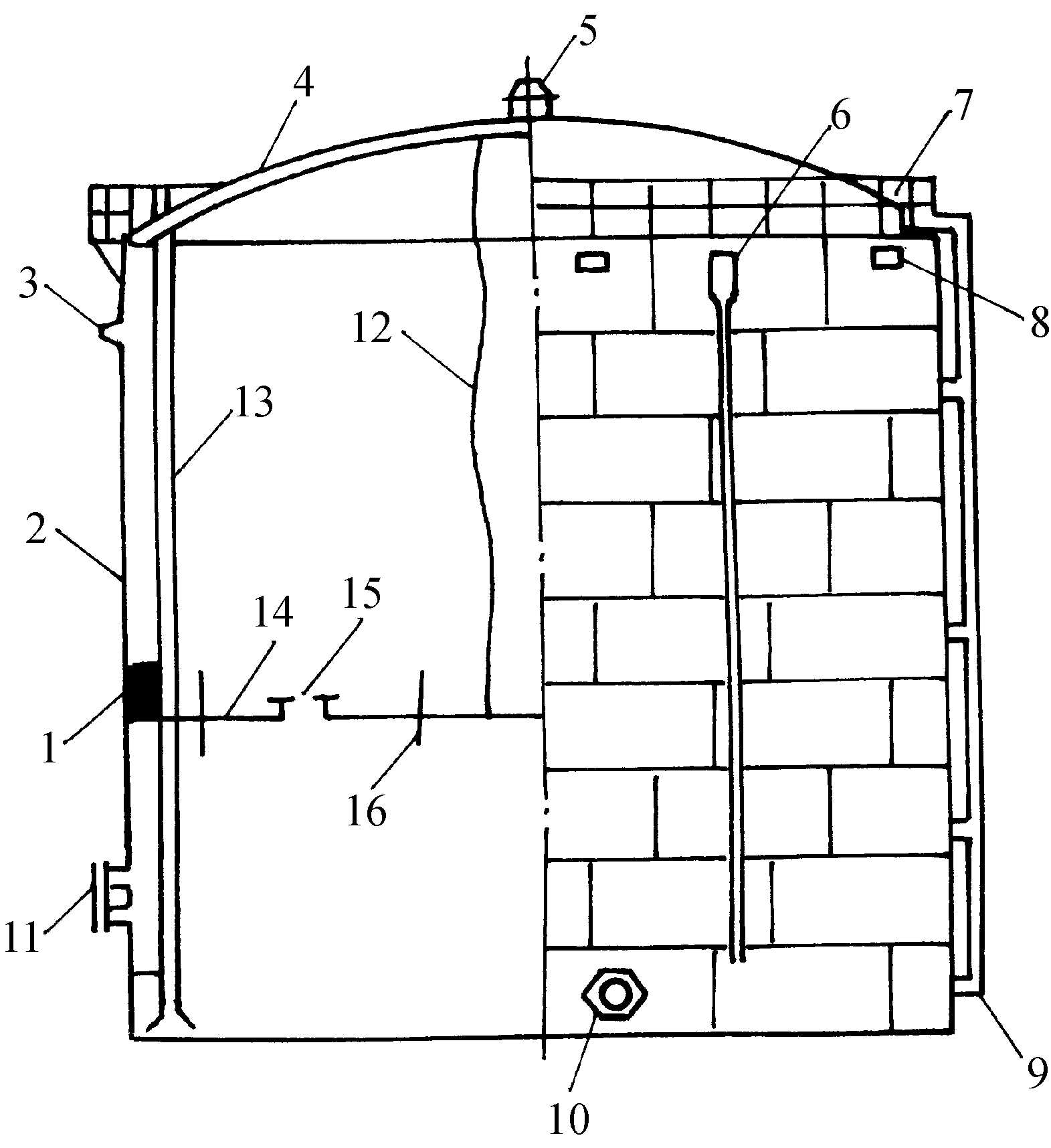
外浮顶油罐结构示意图
1-抗风圈;2-加强圈;3-包边角钢;4-泡沫消防挡板;5-转动扶梯;6-罐壁;7-密封装置;8-刮蜡板;9-量油管;10-底板;11-浮顶立柱;12-排水折管;13-
浮船;14-单盘板
.jpg)
内浮顶油罐结构示意图
1-密封装置;2-罐壁;3-高液位报警装置;4-固定罐顶;5-罐顶通气孔;6-泡沫消防装置;7-罐顶人孔;8-罐壁通气孔;9-液面计;10-罐壁人孔;11-带芯人孔;12-静电导出线;13-量油管;14-浮盘;15-
浮盘人孔;16-浮盘立柱