网站首页  百科知识

请输入您要查询的百科知识:

 

词条 活塞式药液泵
类别 中文百科知识
释义

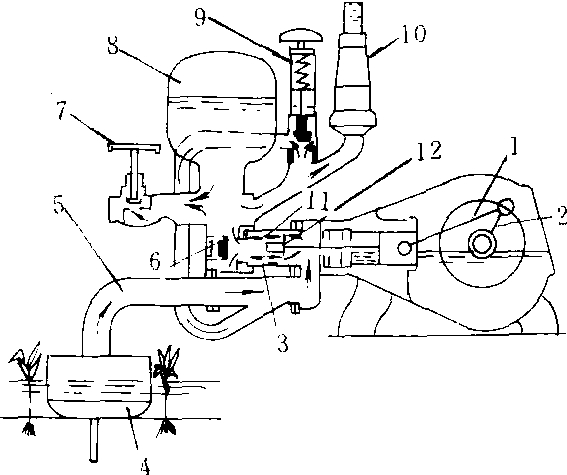
活塞式药液泵piston spary pump

一种往复式泵。由活塞、活塞杆、进出水阀、空气室等组成。利用活塞的往复运动,吸入和压出药液。有单缸、双缸、三缸等型式。单缸泵多用于手动喷雾器,双缸和三缸多用于动力喷雾机。活塞泵具有较高的喷雾压力,而且可根据不同排液量要求设计成不同尺寸,形成系列。

活塞式药液泵工作原理图

1. 连杆 2. 曲柄 3. 泵缸 4. 吸液滤网 5. 进液管 6. 出液阀 7. 出液截止阀 8. 空气室 9. 调压阀 10. 压力指示器 11.活塞12.进液阀

随便看

 

开放百科全书收录579518条英语、德语、日语等多语种百科知识,基本涵盖了大多数领域的百科知识,是一部内容自由、开放的电子版国际百科全书。

 

Copyright © 2000-2025 oenc.net All Rights Reserved
更新时间:2026/1/12 23:04:02