网站首页  百科知识

请输入您要查询的百科知识:

 

词条 活塞式航空发动机
类别 中文百科知识
释义

活塞式航空发动机aircraft piston engine

提供航空器飞行动力的往复式内燃机。一种4冲程,用火花塞点火的汽油发动机。曲轴转动两圈,每个活塞在气缸内往复运动4次,完成一个循环,活塞每运动一次称为“一个冲程”。4个冲程依次为进气、压缩、膨胀和排气。它主要由曲轴、连杆、活塞、气缸、分气机构和机匣等部件组成。有的发动机前部装设减速器以降低输出轴的转速。大多数发动机在机匣后部装有增压器以提高发动机高空性能。活塞式航空发动机都是多气缸发动机,最少有4个气缸,多者可达28个。按气缸冷却方式分为液冷式发动机和气冷式发动机两种。按气缸排列形式又分为直列型发动机和星型发动机。以星型气冷式发动机用得较多。从1903年世界第一架飞机到第二次世界大战末期,所有飞机都用活塞式航空发动机作为动力装置。20世纪40年代中期以后,在军用飞机和大型民用飞机上燃气涡轮发动机逐步取代了活塞式航空发动机,但小功率活塞式航空发动机比燃气涡轮发动机经济,在轻型低速飞机上仍得到应用。

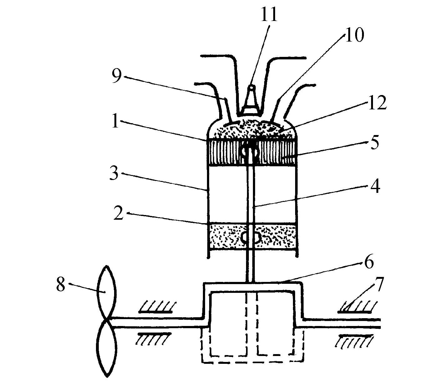
气缸、活塞和上下止点
1-上止点;2-下止点;3-气缸;4-联杆;5-活塞;
6-曲轴;7-轴承;8-螺旋桨;9-进气门;10-排气门;
11-火花塞;12-汽油在燃烧

随便看

 

开放百科全书收录579518条英语、德语、日语等多语种百科知识,基本涵盖了大多数领域的百科知识,是一部内容自由、开放的电子版国际百科全书。

 

Copyright © 2000-2025 oenc.net All Rights Reserved
更新时间:2025/11/9 14:54:30