汽油机qiyouji
以汽油为燃料的往复式内燃机。以四冲程奥托循环为例分析汽油机的工作原理。
如图1和图2所示:❶进气冲程。排气阀关闭,进气阀打开与大气相通,吸入按一定比例混合的汽油蒸汽和空气,至到活塞行至下死点,在p-V图上以0-1等压线表示。
❷压缩冲程。两汽门同时关闭,活塞上行,将可燃混合气进行绝热压缩,压强增至5×105~9×105帕(5~9个大气压),温度约为250~300℃,与p-V图上的1-2曲线对应。
❸工作冲程。当活塞接近汽缸顶点时,由电火花塞点燃混合燃料,燃烧生成物——工质吸收热量Q1,缸内温度和压强迅速上升,可认为是等体过程,以p-V图上的2-3表示。紧接着工质进行绝热膨胀,推动活塞向下运动,对外作功W,直至下死点,对应p-V图上的绝热曲线3-4。
❹排气冲程。排气阀打开与大气相通,缸内压强迅速降至105帕(1大气压),以p-V图上的等体过程4-1表示,活塞上行,将废汽排出,又称扫气过程,放出热量Q2,一个循环完成,循环效率为η=1-Q2/Q1=1-1/εγ-1,γ是定压摩尔热容Cp与定体摩尔热容Cv之比,γ=Cp/Cv,ε=V3/V1称为压缩比,热效率约40%左右。从前面的结果可以看到,提高气缸的压缩比ε是提高热效率的重要途径之一,汽油机的压缩比一般在5~7之间,因为ε太大,混合燃料的密度就过大,点燃时过于猛烈,对汽缸和活塞施加极大的冲力,产生爆震现象,使热机失去平稳,效率也会下降,还会使机件磨损严重,因此ε最大不超过10。汽油机多用作汽车、拖拉机、飞机等的动力装置。

0-1过程:进气 1-2过程:压缩 2-3过程:加热

3-4过程:膨胀 4-1过程:排气 1-0过程:扫气

图2
汽油机gasoline engine
以汽油为燃料,按一定比例使汽油与空气混合后进入气缸,依靠电火花点火的内燃机,又称点燃式内燃机。其热力循环基本上是定容加热循环,即奥托循环。汽油机具有体积小、重量轻、起动容易、运转平稳、噪声和振动小的特点。但它的油耗高、油价贵,在农业中多用作需要重量轻、便于携带的小型动力,如喷雾器、喷粉机、采茶机、林区伐木的油锯、草坪修剪机等。
汽油机有四冲程和二冲程、水冷和风冷、小型和大型之分。汽车用汽油机多属水冷四冲程。小型汽油机中风冷二冲程占绝大多数,以便简化结构、减轻重量并缩小体积,从而符合农业生产用汽油机的要求。各种类型汽油机的结构均具有普通柴油机的主要结构系统,只是个别系统为便于燃用汽油而有别于柴油机。
小型汽油机的燃油供给系统中,化油器为主要部件,它使空气与汽油按一定的比例混合,以满足良好的燃烧要求。小型汽油机多采用磁电机点火系统(见内燃机点火系统),多为人力起动。
小型汽油机多采用干式油底壳,润滑方式为掺混润滑与分离润滑。掺混润滑指汽油中掺入润滑油,借以润滑各摩擦部位。分离润滑为润滑油经微量机油泵,定时注入各摩擦部位。
小型四冲程汽油机的配气机构与柴油机相同,二冲程汽油机的换气系统包括进气、扫气和排气各组成部分。进气方式有活塞控制缸体上的进气口、簧片阀与旋转阀三种。扫气方式有回流、直流与横流三种。换气系统的种类、结构型式和尺寸不仅影响二冲程汽油机的进气充量和扫气效率,而且对功率、转速等都有直接影响。
小型汽油机所用的汽油,在燃烧过程中阻止发生爆震燃烧的能力是用辛烷值表示的,辛烷值高,则汽油的抗爆性好,适用于压缩比高的汽油机。汽油的蒸发性影响汽油机的起动、预热、加速等性能。蒸发性过高会造成燃油系统被蒸气泡所阻隔(气阻)。汽油的牌号是按辛烷值划分的,汽油机所用汽油,其辛烷值一般不低于70。
汽油机gasoline engine
又称汽化器式发动机。一种用汽油做燃料的点燃式内燃机。汽油和空气在汽化器中混合形成可燃混合气被吸入气缸,经压缩后用电火花点火,使混合气燃烧,产生高温高压,燃气膨胀推动活塞作功。它的压缩比较低,热效率低于柴油机。在燃烧系统中,混合气能正常燃烧的空气与燃油之比值变化范围狭窄,因而功率范围也窄,并且存在排气污染问题。近年来各国都在研究分层燃烧,以改善汽油机对环境的污染和提高其经济性。汽油机的优点是:重量轻,成本低,起动和使用简便,多用在轻型卡车、小汽车及小型农用动力(如喷粉喷雾机、插秧机)等方面。

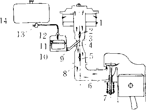
汽油机供油系统
1. 空气滤清器 2. 阻风门 3. 喉管 4. 主喷管 5. 节气门 6. 进气管 7. 进气门 8. 混合室 9. 主量孔 10. 化油器 11. 浮子 12. 针阀 13. 供油开关及沉淀杯 14. 油箱