抛木机log kicker
纵向输送机选材时的抛木设备。分动力式和重力式两大类。前者依靠各种动力源(如电动机、气压、液压以及输送机本身)实现抛木;后者则利用原木本身的重力在失稳情况下实现自抛。
动力抛木机 由抛木杆和动力源两部分组成。抛木杆依靠动力直接作用在原木上并使之卸出输送机。抛木杆有直杆、扇形杆、弓形杆等数种,多数作间断式往复运动,少数作间断式连续运动。在电动抛木机中,抛木杆由单独的电动机通过一定的传动机构驱动;在气压抛木机中,通过中心空气压缩机站和管道将压缩空气供给抛木机中的气缸来操纵抛木杆;在液压抛木机中,抛木杆则通过液压传动系统来控制。抛木杆也可利用输送机的牵引构件来操纵,有两种方式:一种是牵引构件通过离合装置及传动机构带动抛木杆;另一种是利用抛木杆与原木接触所形成的摩擦力来带动抛木杆。一般认为气动抛木是动力抛木中较好的型式。弓形抛木杆和气缸均设置在输送机的栈架腹部,结构紧凑,而且可实现双面抛木。
重力抛木机 由抛木机构和门机构两部分组成。抛力机构设在输送机的承载梁上,构成特殊结构的抛木承载梁。门机构用于使原木失稳,设置在输送机栈架上。由于重力抛木机与输送机结合在一起,常称为重力抛木输送机。根据原木失稳自抛的形式,重力抛木机分翻板式、翻梁式和翻轨式3种,前两种比较普遍。
翻板式重力抛木机 是利用承载板绕轴翻转而实现原木自抛。根据翻转情况分偏心翻板和平衡翻板两种, 偏心翻板式被认为是比较好的结构形式(图1)。翻板由锁杆顶住,保持承载梁的正常装载运输位置。在输送机栈架上正对每个原木楞位安设一根与该楞原木长度相当的推杆,其平衡臂与电磁铁相联。当要抛卸的原木进入推杆长度范围内时,抛木电信号传给电磁铁。在电磁铁作用下,推杆猛然升起,顶开位于其上的所有抛木承载梁中的锁杆而脱钩。原木在其自重作用下,由于翻板失稳,乃绕偏心轴转动而卸落下地。倾翻的翻板走近输送机驱动轮时自动复位。
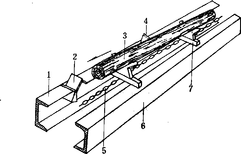
翻梁式重力抛木机 是抛木承载梁整体绕牵引构件翻转而实现原木自抛。在这种抛木机中(图2),承载梁沿槽钢轨道运行。正对楞位的抛木一侧的轨面开设若干个小门,其间距恰等于两承载梁间距,小门数与承载梁间距和原木长度有关。当应抛原木走近自己的楞位时,各小门板脱钩并在配重作用下开启。当承载梁一端掉入门穴时,承载梁失稳,先呈倾斜,继而绕牵

图1 偏心翻板式重力抛木机
1.承载梁; 2.翻板; 3.锁杆; 4.推杆; 5.限位螺钉; 6.平衡臂; 7.配
重; 8.电磁铁
引构件翻转,原木被抛下。承载梁在翻转过程中推压小门板而关闭并自锁。倾翻的承载梁在适当地点复位。只要在两轨道上均开设小门,即可实现双面抛木。理论和实践证明,原木自抛性能很好。不论原木直径大小、原木弯直和装载偏斜与否,都能可靠地被抛卸下去,抛木时间只需0.3~0.5秒。

图2 翻梁式重力抛木机
1、6.轨道;2、4.小门;3.原木;5.牵引构件;7.抛木承载梁
在重力抛木机中,承载板或承载梁的翻转是靠门机构控制的。门机构有大门和小门之分。大门有推动式和压力式2种,小门有空穴式、引导式和挡铁式3种。图1为推动式大门,图2为空穴式小门。