太阳能泵站solar energy pumping station
利用太阳能驱动水泵抽水的泵站。有以下几种形式:
❶利用太阳能使工质液体(戊烷)变成蒸汽,经由喷射器高速喷出,产生负压,从水源抽水;
❷使戊烷蒸汽冷凝,形成负压,从水源抽水;
❸利用戊烷蒸汽驱动隔膜泵,从水源抽水;
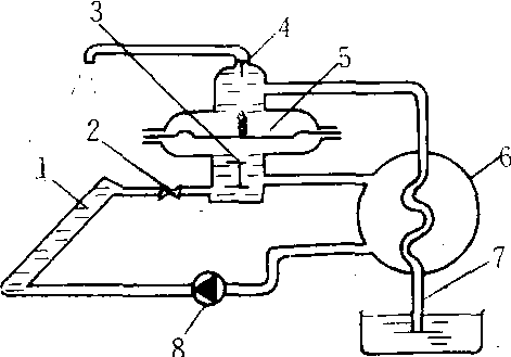
❹太阳照射在由半导体材料制成的太阳能电池上,借助光电作用,产生直流电,再通过变流器变成交流电,驱动电动机带动水泵抽水。以利用戊烷蒸汽驱动隔膜泵,从水源抽水者为例,其工作原理是:集水器(内装不与水混合、低沸点、无毒、不燃的变相工质液体戊烷)在太阳光的照射下,液态戊烷变为蒸汽,压力不断升高,达到规定值后推开进气阀,使汽缸工作,将隔膜上移,开启上单向阀,隔膜泵上部的水被排出,当隔膜泵上移到一定位置时,戊烷蒸汽进入冷凝器冷凝,压力降低,隔膜复位,上单向阀关闭,隔膜上部形成负压,将水上吸,冷凝后的戊烷蒸汽变成液体,由工质泵压送至集热器,供循环使用。

利用戊烷蒸汽驱动隔膜泵的太阳能水泵
1.集热器 2.进气阀 3.汽缸 4.上单向阀 5.隔膜泵 6.冷凝器 7.下单向阀 8.工质泵