网站首页  百科知识

请输入您要查询的百科知识:

 

词条 增压发动机
类别 中文百科知识
释义

增压发动机supercharged engine

利用增压器将空气或混合气压缩后送入气缸,使进气压力高于大气压力的发动机。内燃机的指示功率与吸进气缸的气体质量流量成正比,增加进气压力或进气密度可使发动机的扭矩和功率增加。增压器一般有机械式和废气涡轮式两大类。前者由发动机驱动的鼓风机、压气机等实现,因需消耗发动机一部分有效功率以驱动鼓风机等,且热效率低、结构复杂、操纵不便,故已很少采用;后者利用内燃机废气能量在涡轮内转变为机械能驱动离心式压气机以增加进气压力,由于不消耗发动机有效功,使发动机高速时功率增大,全负荷燃油消耗率低,因此在柴油机增压上得到广泛采用。柴油机采用增压技术后不仅可提高功率30%~100%,甚至更多,还可以减小单位功率质量、缩小外形尺寸、降低燃油消耗、减少机型的品种系列、扩大使用范围。汽油机的增压技术较复杂,增压后受爆燃的限制,其发展和使用不如柴油机普遍。近年来,随着电子控制汽油喷射装置和电子控制点火防爆装置及涡轮增压器的小型高效化,车用汽油机采用增压技术已具备了有利条件。增压技术在节约能源、防止大气污染等方面具有较显著的作用,已成为内燃机的重要发展趋势之一,并得到越来越广泛的应用。

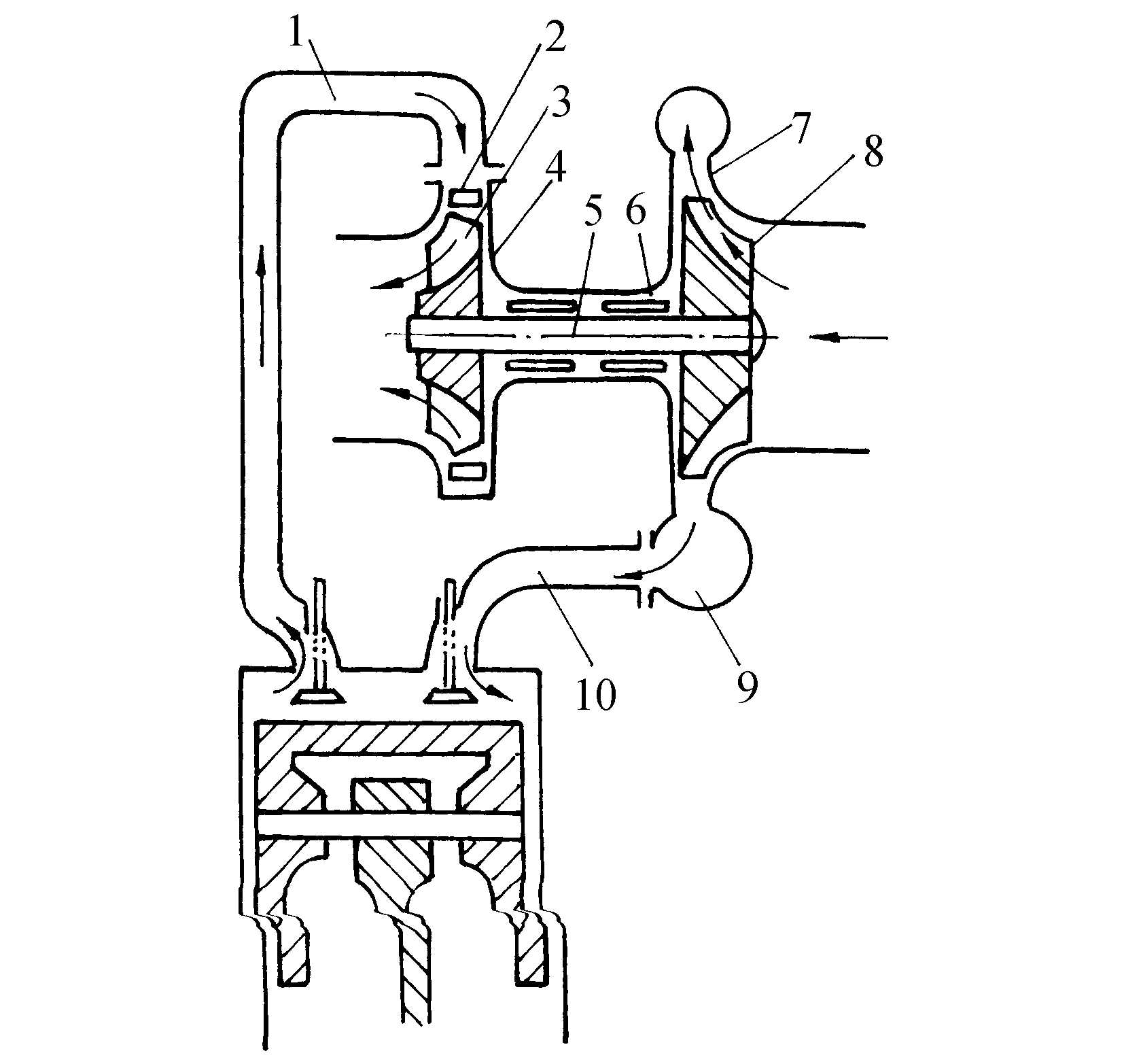
废气涡轮增压器示意图
1-排气管;2-喷嘴环;3-涡轮;4-涡轮壳;5-转子轴;6-轴承;7-扩压器;8-压气机叶轮;9-压气机壳;10-进气管

随便看

 

开放百科全书收录579518条英语、德语、日语等多语种百科知识,基本涵盖了大多数领域的百科知识,是一部内容自由、开放的电子版国际百科全书。

 

Copyright © 2000-2025 oenc.net All Rights Reserved
更新时间:2026/5/19 14:20:08