网站首页  百科知识

请输入您要查询的百科知识:

 

词条 叶隙
类别 中文百科知识
释义

叶隙leaf gap

茎向叶分出叶迹时,在维管柱与叶迹分叉处上方所存在的薄壁组织区域。种子植物和绝大多数真蕨纲植物的茎内都有叶隙存在。

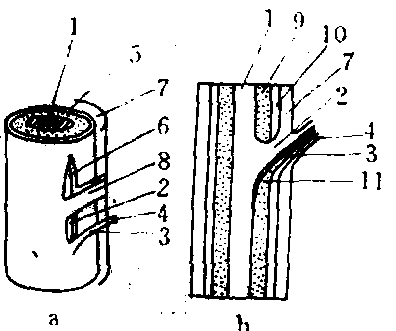
叶隙

a.茎节部一段的图解 b.经髓中央的纵切面

1.髓 2.叶隙 3.叶迹 4.叶柄 5. 茎中的维管组织 6.枝隙 7.皮层 8.枝迹 9.后生木质部 10.韧皮部 11. 原生木质部

随便看

 

开放百科全书收录579518条英语、德语、日语等多语种百科知识,基本涵盖了大多数领域的百科知识,是一部内容自由、开放的电子版国际百科全书。

 

Copyright © 2000-2025 oenc.net All Rights Reserved
更新时间:2025/11/9 19:03:16