网站首页  百科知识

请输入您要查询的百科知识:

 

词条 反射棱镜
类别 中文百科知识
释义

反射棱镜fanshe lengjing

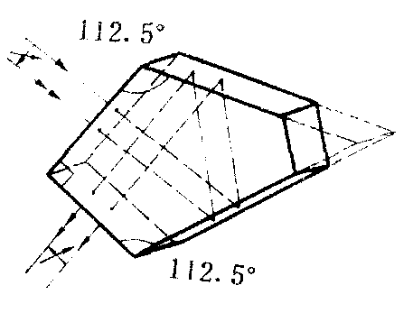
利用光的反射改变光线方向的棱镜。当白光通过反射棱镜时,不会发生色散,所以又叫非色散棱镜。在棱镜的侧面上镀有金属薄膜,形成反射面。直角棱镜有一个反射面,垂直于直角面入射的光束经反射面发生全反射,偏折90°出射。像和物上下转动90°,而左右不变。潜望镜中用的是直角棱镜。波罗棱镜利用直角棱镜的两个面为反射面。垂直于斜面入射的光束经过两次全反射转过180°,它相当于两个平面镜组成的90°角镜。像和物上下颠倒,左右不变。用两块波罗棱镜组合起来,不改变垂直入射的光束的方向,而像与物上下、左右皆倒转。在双筒望远镜中用来正像。达夫倒像棱镜,又叫鸠尾棱镜。它不改变光的传播方向,可将画面正过来,常用于准直管中。正四面体直角棱镜,又叫角锥棱镜,由三个互相垂直的棱面组成。从斜面入射的光线相继在三个直角面上全反射后,经斜面与入射光线平行反向射出,其性能和空心锥镜相似。自行车的尾灯有类似的作用。五脊棱镜,又叫五角棱镜、五楞棱镜。相当于45°角镜。使光线偏折90°角。常用作测距仪两端的反射镜。许多反射棱镜与一定的角镜相对应,但是由于反射标准镜多采用全反射,能量损失少;且棱镜加工后角度和平面都不易变形,比角镜耐用,所以光学仪器多采用反射棱镜。棱镜对材料的透明度及光学均匀性要求较高,还要注意克服色散现象。


图 1 直角棱镜


图 2 波罗棱镜


图 3 组合波罗棱镜


图 4 达夫倒像棱镜


图5 正四面体直角棱镜


图6 五脊棱镜

随便看

 

开放百科全书收录579518条英语、德语、日语等多语种百科知识,基本涵盖了大多数领域的百科知识,是一部内容自由、开放的电子版国际百科全书。

 

Copyright © 2000-2025 oenc.net All Rights Reserved
更新时间:2026/5/19 22:15:00