网站首页  百科知识

请输入您要查询的百科知识:

 

词条 原木调头机
类别 中文百科知识
释义

原木调头机machinery for log turning

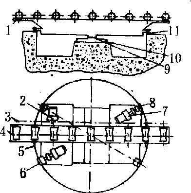
调动原木使其小头处于进锯方向的制材专用设备。实行小头进锯, 便于做到对线下锯, 最大限度地提高主产出材率和综合利用率。常见的专用设备,有180°转盘式调头机和90°拨木式调头机。❶180°盘式调头机:由滚台运输机和原木回转部分组成, 结构如图1。采用主动轮电磁制动和中心架电磁制动以及带缓冲装置的定位挡块来保证其定位准确。滚台运输机和原木回转部分在电器上采用联锁装置,当原木回转时,滚台运输机的鞍形辊立即停止运输,以保证安全可靠。其特点是,结构紧凑,占地面积小,由一人在操纵台集中控制,操作方便,运行平稳。滚台运输机由机架、电机、链传动装置、沟纹鞍形辊组成。原木回转部分由轨道、底盘、机座、定心部、车轮部、驱动电机等组成。
❷90°拨木式调头机:靠摩擦传动的两个卷筒来带动一个沿着滑道移动的顶木臂完成原木调头,其结构如图2。当原木由横向往纵向转移时,如小头在后则后面的调向挡柱升起,开动左面的顶木臂来顶原木,原木绕挡柱转动90°进入纵向运输机。如原木大头在后,则开动右面的顶木臂来完成调向。摩擦离合装置由操纵台控制。其特点是,调头速度快,结构简单。但机构庞大,占地面积大,操作不便。

图1 180°转盘式调头机
1.机架; 2.电机; 3.传动链;4.鞍形辊; 5.轨道; 6.电磁制动; 7.电机; 8.车轮部; 9.车轮部; 10.机座; 11.底盘

图2 90°拨木式调头机
1、8.电动机; 2、7.传动皮带; 3.卷筒; 4.圆环链条;5. 滑道; 6. 顶木臂; 9.绳轮; 10.原木; 11.挡柱;12.绳索; 13.轴承; 14.横向运输链; 15.纵向运输链;
16.链轮

随便看

 

开放百科全书收录579518条英语、德语、日语等多语种百科知识,基本涵盖了大多数领域的百科知识,是一部内容自由、开放的电子版国际百科全书。

 

Copyright © 2000-2025 oenc.net All Rights Reserved
更新时间:2026/5/19 16:11:16